특허 내용은 구글 '픽셀 폴드'와 더 가까워
판매량 감안해 삼성전자 상대로 제기한 듯
한 해외 NPE(특허관리전문업체)가 삼성전자 폴더블 스마트폰 구조가 자사 특허를 침해했다며 미국 법원에 침해금지 소송을 제기했다. 해당 NPE 주장대로면 디스플레이와 카메라를 각각 2개 이상 장착한 통신기기는 대부분 특허 침해가 불가피하다는 점에서 향후 소송 결과가 주목된다.
KP2, 삼성전자 폴더블 기기 전체에 침해 주장
미국 텍사스에 본사를 둔 KP이노베이션2(이하 KP2)는 삼성전자가 자사 특허 US10499168(System, method, and apparatus for providing interpretive communication on a network)을 침해했다며 지난주 텍사스 서부지방법원에 침해금지 소송을 제기했다.
계쟁 제품으로는 삼성전자 ‘갤럭시 폴드’ 1세대부터 지난해 가을 출시된 ‘갤럭시Z 폴드5’와 ‘갤럭시Z 플립5’까지 모든 폴더블 기기가 열거됐다.
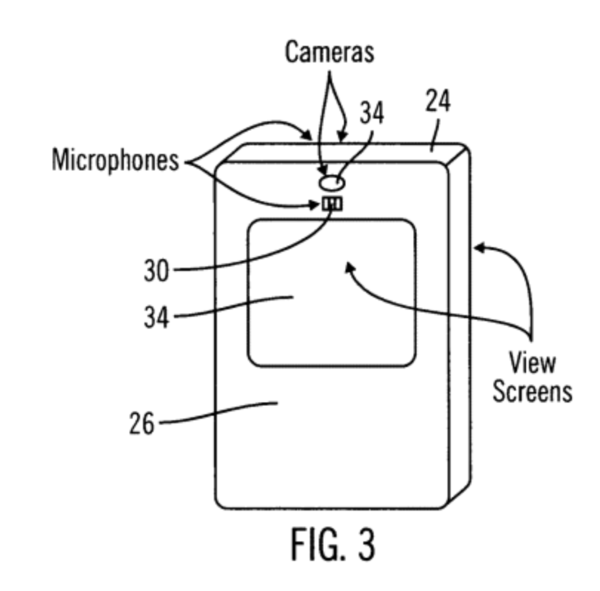
이 회사의 특허(이하 168 특허)는 네트워크 통신을 이용한 실시간 통역장치에 대한 내용이 골자다. 168 특허는 서로 다른 언어를 쓰는 두 사람이 통역장치를 사이에 두고 대화를 하면, 기기 앞뒷면 화면에 상대편 대화 내용이 실시간 통역돼 표시되는 장치를 설명한다.
이는 지난해 구글이 ‘픽셀 폴드’에서 처음 선보인 ‘듀얼스크린 통역 모드’ 기능과 유사하다. 픽셀 폴드를 펼친 상태에서 이 기능을 이용하면 외국어를 쓰는 상대방 대화를 통역해 맞은편 스크린에 출력해준다. 동시에 픽셀 폴드 사용자 대화 역시 통역돼 상대편 스크린에 출력한다.
픽셀 폴드는 이 기능을 온디바이스AI 형태로 제공하지 않고, 클라우드 컴퓨팅 파워를 이용한다. 통신 기능을 이용해 대화 내용과 통역된 텍스트를 주고 받는 것이다. 기술 유사성 측면에서 KP2의 168 특허 내용을 상당부분 담고 있다.
KP2, 소송 대상으로 구글 아닌 삼성전자 택한 이유는
그러나 KP2는 소송 대상으로 구글이 아닌 삼성전자를 택했다.
삼성전자 역시 스마트폰을 이용한 실시간 통역 기능을 선보였지만 이는 가장 최근 출시된 ‘갤럭시S24’ 시리즈만 해당된다. 폴더블 시리즈는 아직 실시간 통역 기능을 제공하지 않는다. 더욱이 실시간 통역이 제공되는 갤럭시S24는 통역을 위해 통신 기능을 배제한다. 순수하게 AP(애플리케이션프로세서) 내 NPU(신경망처리장치)의 컴퓨팅 파워를 사용한다. 온디바이스AI 방식인 것이다.
그럼에도 불구하고 KP2가 소송 당사자로 삼성전자를 고른 건 스마트폰 시장에서 삼성전자와 구글의 판매량 격차 때문으로 풀이된다. 구글 스마트폰 브랜드 ‘픽셀’은 전 라인업을 합쳐서 연간 400만~500만대 정도 밖에 팔리지 않는다. 픽셀 폴드에 한정해서 보면 누적 판매량이 100만대도 안 된다.
이처럼 소량 팔리는 제품을 상대로 특허 침해 소송에서 승소해봐야 받을 수 있는 보상금도 소액이다. 특허 침해함으로써 당사자가 얻은 수익이 적다고 봐서다. 이에 비해 삼성전자는 폴더블 시리즈만 해도 연간 1000만대 가까이 판매한다. 승소를 가정했을 때 기대할 수 있는 수익이 훨씬 크다.
다만 KP2는 삼성전자가 폴더블 시리즈에서 실시간 통역 기능을 제공하지 않는다는 점을 고려해 침해 범위를 좁혀 기기 구조에 대해서만 침해를 주장했다. 2개의 스크린과 2개의 카메라가 양면에 장착된 폴더블 스마트폰의 생김새가 자신들의 특허에 해당한다는 것이다. 이 주장대로면 갤럭시Z 시리즈 뿐만 아니라 픽셀 폴드와 중국에서 출시된 모든 폴더블 기기들이 168 특허를 침해했다는 게 된다.
KP2와 삼성전자의 특허 소송이 나머지 폴더블 스마트폰 출시 업체들에게도 영향을 미칠 것으로 예상된다.
한 IT 분야 변리사는 사견임을 전제로 “2개의 스크린과 2개의 카메라를 장착한 디자인에 신규성과 진보성을 부여할 수 있는지를 법원이 판단하게 될 것”이라며 “스마트폰을 제외한 일반적인 IT 기기에서 구현됐던 형태라면 받아들여지지 않을 가능성이 크다”고 말했다.

